Park Patents의 등록 특허 및 상표 소개

▪ US Patent No. 8,616,987 (Hyundai wia corp.)    

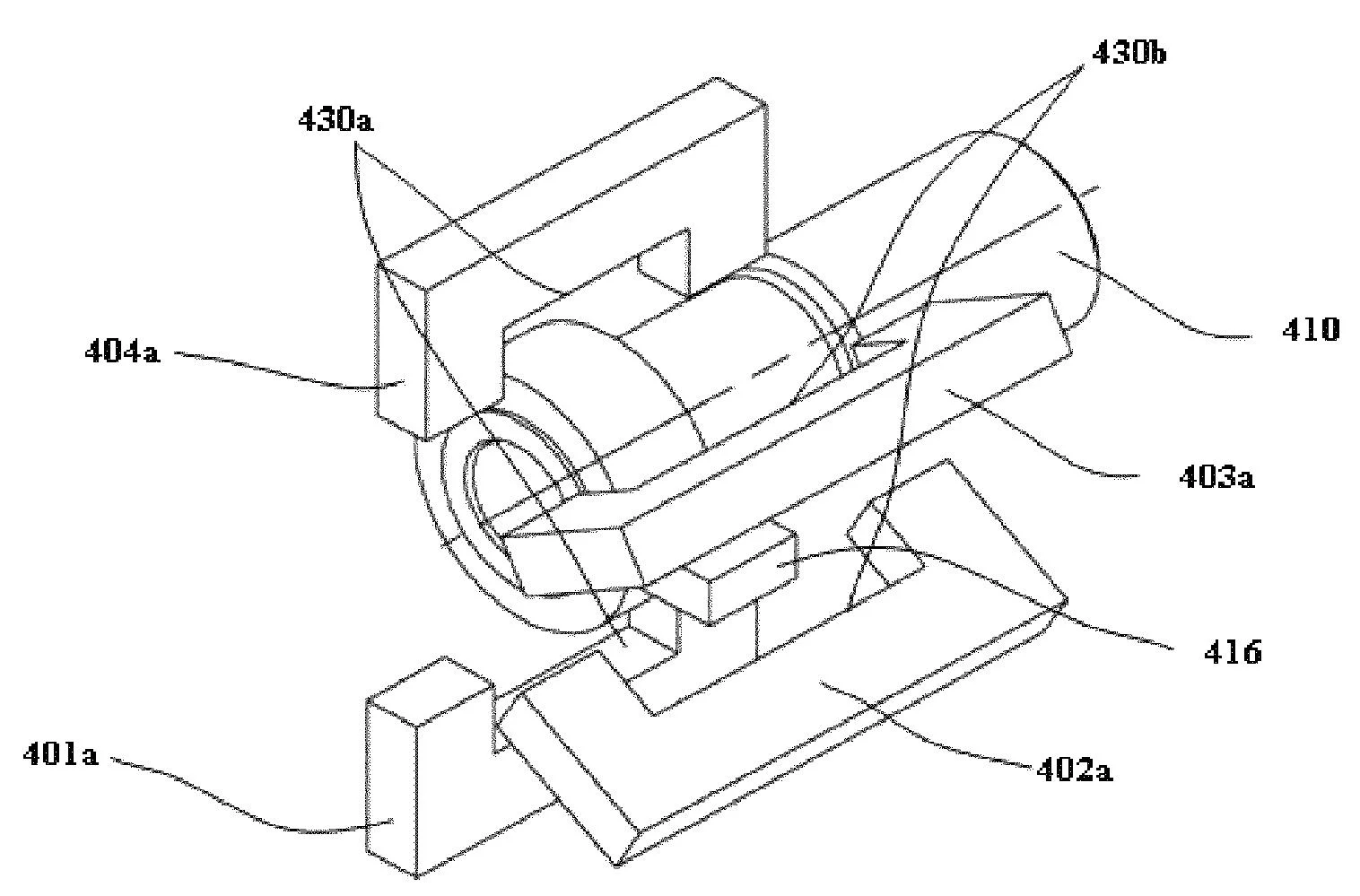
발명의 명칭: Cross groove type constant velocity joint 

대표도면: 

대표독립항: 

1.  A constant velocity joint for a drive system comprising:

    an outer joint member having a plurality of inwardly facing outer ball grooves, the outer ball grooves consisting of a first group of grooves, each groove of which having a skewed groove shape with a first skew angle (β1) other than zero and alternately arranged in opposite directions relative to an axis of rotation of outer joint member, and a second group of grooves, each groove of which having a skewed groove shape with a second skew angle (β2) other than zero and alternately arranged in opposite directions relative to an axis of rotation of outer joint member, the second skew angle (β2) being less than the first skew angle (β1);

    an inner joint member disposed inside the outer joint member and having a plurality of outwardly facing inner ball grooves consisting of a first group of grooves, each groove of which having a skewed groove shape with a first skew angle (β1) other than zero and alternately arranged in opposite directions relative to an axis of rotation of inner joint member, and a second group of grooves, each groove of which having a skewed groove shape with a second skew angle (β2) other than zero and alternately arranged in opposite directions relative to an axis of rotation of inner joint member, the second skew angle (β2) being less than the first skew angle (β1), each inner ball groove of the inner joint member being coupled with a corresponding outer ball groove of the outer joint member generally in crossed pair;

    a plurality of torque transfer balls which are guided by the ball groove faces of the outer and inner joint members; and

    a cage having circumferentially displaced windows to accommodate the balls therein;

    wherein the first group of grooves of the outer and inner joint members are configured to have   a first contact angle (α1) between its ball and ball groove, respectively, and the second group of grooves of the outer and inner joint members are configured to have a second contact angle (α2) between its ball and ball groove, respectively, and wherein the second contact angle (α2) is selected to have an angle larger than the first contact angle (α1);

    wherein the first group of grooves of the outer and inner joint members are configured to have a first pitch circle diameter (PCD1), and the second group of grooves of the outer and inner joint members are configured to have a second pitch circle diameter (PCD2), and wherein the second pitch circle diameter (PCD2) is larger than the first pitch circle diameter (PCD1);

    wherein the balls received in the second group of grooves of the outer and inner joint members are smaller than the balls received in the first group of grooves of the outer and inner joint members; wherein the number of the torque transfer balls is an even number. 

특허전문 보기 

본특허에 대한 문의 및 COMMENTS 보내기


▪ US Patent No. 8,746,098 (Hyundai Wia Corp.)   

발명의 명칭: Gear shifting actuator and method of shifting gear ratios 

대표도면:

대표독립항:

1.  A method of shifting gears with a gear shifting device includes:

    providing a gear shifting device, which includes: at least one guide rail each extending in a longitudinal axis thereof; four shift effecting members for shifting gears, the shift effecting members each having a terminal end portion with a finger receiving opening formed therein; and a shift shaft extending in a direction generally parallel to the longitudinal axis of the guide rail, the shift shaft having a shift finger coupled thereto, wherein the terminal end portions of the four shift effecting members are disposed in an angularly arranged pattern, and wherein the finger receiving openings of two inner terminal end portions have an opening width which is larger than that of the finger receiving openings of two outer terminal end portions;

    rotating the shift shaft and pivotally positioning the shift finger at a location aligned to receive in the finger receiving opening of a selected one among the shift effecting members; and

    displacing the shift shaft in the longitudinal direction and moving the selected shift effecting member to effect a gear shifting operation. 

특허전문 보기

본특허에 대한 문의 및 Comments 보내기


▪ US Patent No. 8,776,629 (HYUNDAI WIA CORP.)   

발명의 명칭: Dual clutch transmission and dual clutch actuators thereof 

대표도면:

대표독립항:

1. A dual clutch apparatus for a dual clutch transmission having a first input shaft and a second input shaft, the first and second input shafts disposed coaxially to each other and operatively coupled with a plurality of gears and at least one output shaft to drive the transmission with a selected one from the plurality of gears, the dual clutch apparatus comprising:

    a first clutch of generally annular shape, which is operatively coupled with one of the first and second input shafts to drive the transmission with a gear selected from a first set of non-consecutively numbered gears;

    a second clutch of generally annular shape, which is disposed coaxially with the first clutch and operatively coupled with the other one of the first and second input shafts to drive the transmission with a gear selected from a second set of non-consecutively numbered gears; and

    a plurality of first clutch levers and a plurality of second clutch levers received in a clutch retaining housing in a circularly arranged pattern with the first clutch levers alternately interleaved with the second clutch levers, each of the first clutch levers and the second clutch levers having an outer flange portion, an interim portion extending from the outer flange portion and having a generally angled or stepped shape, and an inner flange portion extending from the interim portion, each of said outer flange portions of the first and second clutch levers abutting against an inner wall surface of the clutch retaining housing;

    wherein the second clutch includes a second clutch application plate of generally annular shape which is coupled with the second clutch levers for clutch operation of the second clutch, a friction plate arranged next to the second clutch application plate and coupled with a hub of the second clutch, the hub of the second clutch coupled with the second input shaft, and a reaction plate arranged next to the friction plate;

    wherein the first clutch includes a clutch finger plate of generally annular shape, the clutch finger plate having a plurality of fingers extending in the axial direction of the first clutch and through an outer circumference of the second clutch, and the clutch finger plate being moveable in the axial direction of the first clutch to push a first clutch application plate of generally annular shape which is coupled with the first clutch levers for clutch application of the first clutch, and a friction plate arranged next to the first clutch application plate and coupled with a hub of the first clutch, the hub of the first clutch coupled with the first input shaft. 

특허전문 보기

본특허에 대한 문의 및 Comments 보내기

▪ US Trademark No. 3,294,226 (COGENT MOTION, INC.)   

상표명:

지정상품/지정서비스업:

(IC 025) G & S: Leather shoes; basketball shoes; shoes; mountaineering boots; winter boots; boots, sandals; slippers; training shoes; baseball shoes; rain boots; footwear for track and field athletics; work shoes and boots; football shoes; lace boots; anoraks for exercises; skirts; men's suits; children's clothing, namely, tops, bottoms, jackets and headwear; one piece suits; infants' clothing, namely, infantwear; two piece suits; swimsuits; polo shirts; tee-shirts; neckties; mufflers; winter gloves; shawls; stockings; socks; caps, headwear; waterproof clothing, namely, tops, bottoms, jackets and headwear; braces for clothing in the nature of suspenders; leather belts

본상표에 대한 문의 및 Comments 보내기