Park Patents의 등록 특허 및 상표 소개

▪ US Patent No. 8,974,181 (Inje Univ. Industry-Academic Cooperation Foundation)   

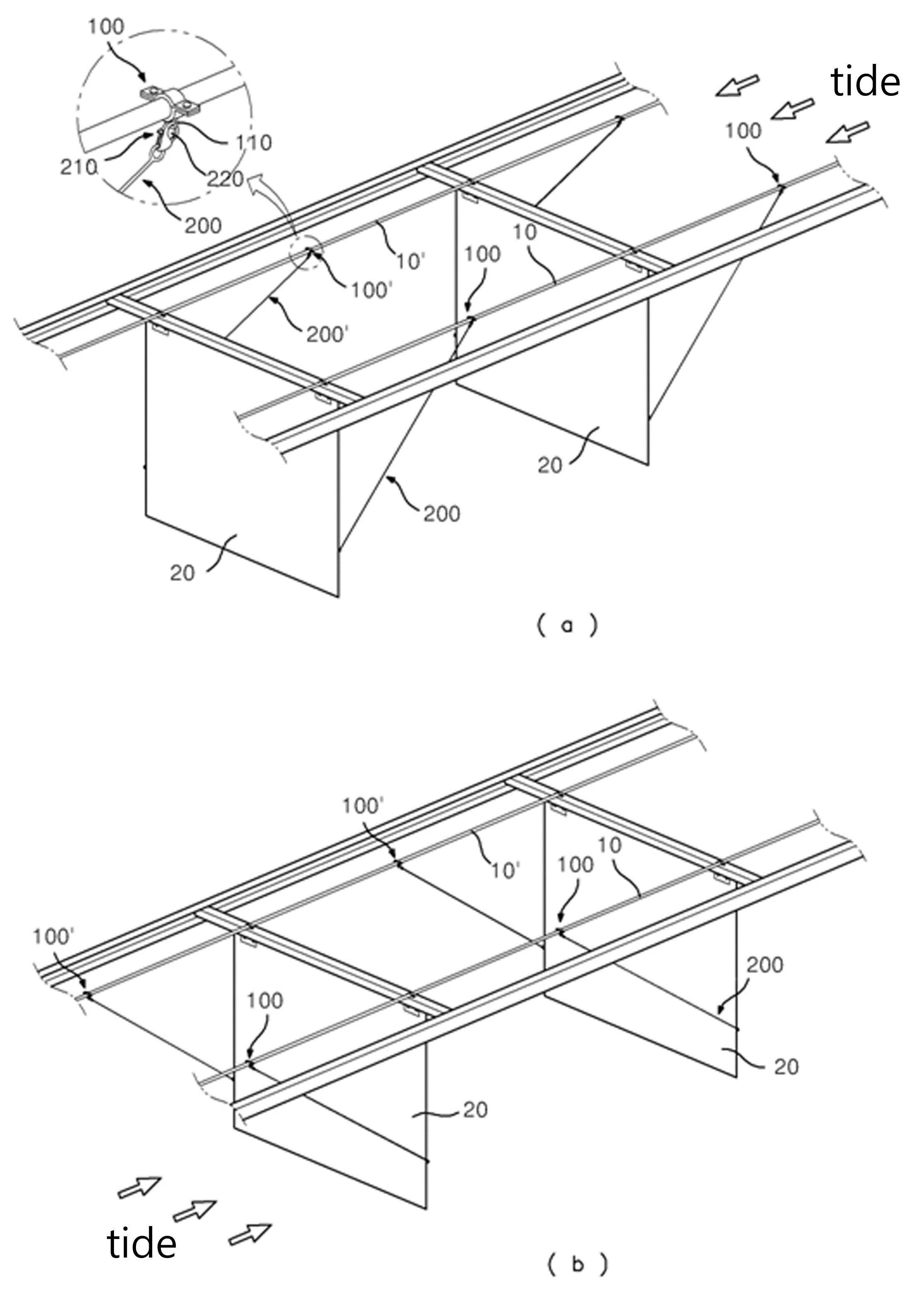
발명의 명칭: Rope-conveyer structure for supporting plates of wind or water power generator 

대표도면:

대표독립항:

1. A rope-conveyor structure for supporting plates of a wind or water power generator in which the plates are coupled to a rope at positions spaced apart from each other so that a flowing force of a fluid applying to the plates rotates the rope, the rope-conveyor structure comprising:

   a plurality of couplings connected to the rope between the respective plates; and

   a plurality of connection wires having first ends thereof connected to the respective couplings and second ends thereof connected to the respective plates,

   wherein a fastener is provided at the first end of each of the connection wires, the fastener being detachably coupled to the corresponding coupling so that the connection wire is able to be selectively coupled to one of the couplings that is disposed either ahead of or behind the corresponding plate. 

특허전문 보기

본특허에 대한 문의 및 Comments 보내기


▪ US Patent No. 8,992,739 (Korea Electrotechnology Research Institute)   

발명의 명칭: Method for manufacturing silicon-based nanocomposite anode active material for lithium secondary battery and lithium secondary battery using same 

대표도면:

대표독립항:

1. A method of preparing a silicon-based nanocomposite anode active material for a lithium secondary battery, comprising the steps of:

   (a) mounting a silicon-based wire between two electrodes provided in a methanol-based solvent atmosphere and then conducting high-voltage discharge to prepare a dispersion solution in which silicon nanoparticles are dispersed; and

   (b) combining the silicon nanoparticles with a different kind of material to prepare silicon-based nanocomposites. 

특허전문 보기 

본특허에 대한 문의 및 Comments 보내기


▪ US Patent No. 9,049,429 (Realhub Corp. Ltd.)   

발명의 명칭: Connection problem determination method and connection problem determination apparatus for image input device 

대표도면:

대표독립항:

1. An apparatus for determining a connection failure of an image input device, comprising: a network connection detection unit configured to detect a network connection between at least one image input device for providing predetermined images and enabling a network connection, and a network video record (NVR) system; wherein the network connection detection unit detects the network connection depending on whether socket information about an internet communication protocol that is received based on the network connection is received; a timer configured to generate signals at regular time intervals in response to clock pulses; a time delay measurement unit configured to measure a time delay based on the signals of the timer if the network connection is not detected; a connection failure determination unit configured to determine that a connection failure has occurred if the time delay is equal to or longer than a preset threshold value; and a video output detection unit configured to detect a connection of the image input device with video output, wherein the time delay measurement unit measures the time delay based on the signals of the timer if the connection with the video output is not detected. 

특허전문 보기

본특허에 대한 문의 및 Comments 보내기


▪ US Trademark No. 4,685,677 (Lee, Hyung Suk)   

상표명:

지정상품/지정서비스업:

(IC 028) US 022 023 038 050. G & S: Baseballs, baseball gloves, baseball bat cases, baseball batting gloves, baseball mitts, baseball bats, baseball bases, baseball home plate, catcher's gear for baseball, namely, mask and chest protectors, golf balls, golf gloves, tennis balls, tennis nets and uprights, rackets for tennis, table tennis balls, table for table tennis, table tennis nets, hockey gloves, plastic character toys.

본상표에 대한 문의 및 Comments 보내기