Park Patents의 등록 특허 및 상표 소개

▪ US Patent No. 9,347,806(JOINSET & EXPANTECH)   

 

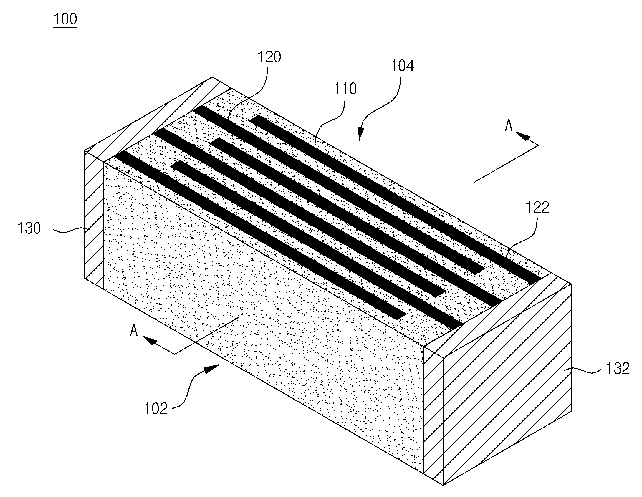
발명의 명칭: Sensor having an embedded electrode, and method for manufacturing same

 

대표도면:

 

대표독립항:

1. A sensor having an embedded electrode, the sensor comprising: a sensing stack in which first and second conductive layers are stacked and embedded within a material, the material including a separation layer between the conductive layers; and a first and a second electrode terminals electrically connected to the first and second conductive layers, respectively, the electrode terminals being disposed on two opposing side surfaces of the sensing stack, wherein the first and second conductive layers are exposed to at least one side surface, except for the side surfaces on which the electrode terminals are disposed, to form a sensing surface, wherein at least one sensing material is applied on the sensing surface and forming a sensing material layer on the sensing surface for detecting target matter using the sensor. 

특허전문 보기 

 

본특허에 대한 문의 및 Comments 보내기